低压长袋脉冲技术在我国水泥各行业近两年发展较快,它综合了反吹风袋收尘器与气箱脉冲袋收尘器的优点,克服了二者的不足,做为新一代脉冲技术又完全克服了传统管式脉冲喷吹的缺点。该收尘器滤袋长6米以上,使主机占地面积小,清灰所需气源压力低(0.3Mpa)能耗少,清灰效果与气箱脉冲袋收尘器完全相同。尤其在处理大风量的扬尘点,低压长袋脉冲袋收尘器则成为首选设备。
LMC低压长袋脉冲袋收尘器的主要特点
一、清灰方式与参数
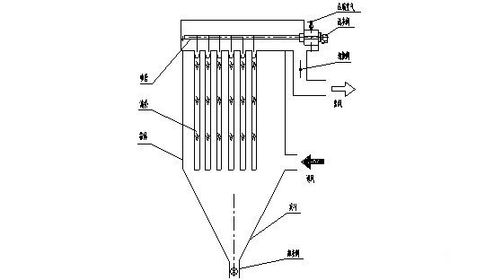
LMC袋收尘器由箱体、灰斗、滤袋、袋笼、文丘里管,脉冲清灰系统及进出风管、切换阀等组成。它的工作原理如图一所示。含尘气体进入进风管后折下灰斗上升至滤袋过滤。粗颗粒靠惯性落入灰斗底部,细粉尘被阻留在滤袋外表面。过滤后的气体通过各滤袋汇集到净气室,经出风管、风机排入大气。随着过滤过程不断进行,滤袋外表层积尘逐渐增多、增厚,这时需要对滤袋进行清灰。PC机控制仪发出信号,对每单元逐个清灰(每单元滤袋分数组,每组12条)压缩空气经脉冲阀,喷管、文丘里进入滤袋,使滤袋膨胀,震动,达到清灰目的。

(图一)
LMC袋收尘器的脉冲喷吹属于强力清灰。当脉冲气流喷射时,瞬间高压空气由于文丘里管诱导作用而抽吸周围高于本身五倍的二次气流冲入滤袋。所产生的压力对滤袋作用时加载速度极快,由袋口向底端讯速传递,引起袋壁及粉尘层的拉伸、压缩、剪切、使粉尘层破裂、脱落、清灰效果明显。
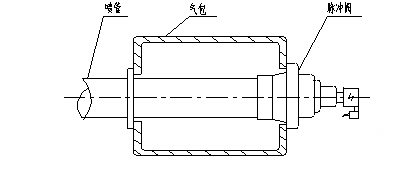
1. 文丘里管及脉冲清灰系统
脉冲清灰系统包括脉冲阀、喷管、气包管。
脉冲阀选用淹没式,喷吹阻力低,适合低压喷吹。气包采用方形气包,脉冲阀直接安装在气包上,如图二所示。

(图二)
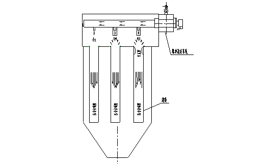
2. 脉冲清灰试验
脉冲清灰系统我们选择三种方式试验,根据试验,确定最佳脉冲清灰方式。如图三所示。

(图三)
三种方式性能优、缺点比较:
NO1方式:
a. 第一个孔与最后一个孔压缩空气气流量不均,第一孔喷吹气流量最少,主要是其产生引流而造成。
b. 由于气流的横向运动所产生的分力使得喷吹方向跑偏。
c. 部分扩引气流打在花板上,浪费清灰功效。
d. 滤袋上端产生负压,具有引流,使得滤袋上清灰不净。滤袋浪费400㎜,从而导致整体过滤面积减少,气布比提高。
e. 箱体内各滤袋清灰程度不均。
NO2方式:
a. 具有二次引流扩大清灰气量,但在滤袋内所产生清灰度是中间大旁边小(见图中NO2压力分布图)
b. 有时可能在滤袋上端产生引流可导致负压,使得滤袋上部清灰不净。
c.滤袋浪费400㎜,从而导致整体过滤面积减少,气布比提高。
d. 滤袋上端产生负压,平均寿命减短。
结论:清灰效率有所提高,由于气布比提高,但仍存在压差阻力大的缺点,且滤袋寿命减短。
NO3方式:
a. 具有二次引流,可以解决以上两种方式产生的缺点。
b. 最大限度地利用了气流形成中各段引流。
c.滤袋内压力分配最佳,故清灰效果最好。
d. 用20%的压缩空气导入了花板上80%的干净气体,增加了清灰强度。
e. 在同等的清灰效果下,阀门减小,气包减小。
